MÁY BIẾN ÁP MỘT PHA VÀ CÁCH QUẤN CHI TIẾT ĐỂ SAO CÓ ĐƯỢC ĐIỆN ÁP ĐẦU RA NHƯ MONG MUỐN!
1. Khái niệm, phân loại
- Máy biến áp một pha là sản phẩm biến đổi điện áp dòng xoay chiều với điện áp cao thành điện áp thấp và ngược lại.
- Với tính chất dùng để truyền tải năng lượng điện từ và biến đổi điện áp này sang điện áp khác với tần số không đổi.
- Trong kĩ thuật điện tử thì có loại biến áp cao tần và biến áp trung tần được sử dụng dùng để khuếch đại ở các tầng cao tần và trung tần, các bộ khuếch đại cao tần,... Lõi của biến áp thường được làm bằng Ferrit. Ngoài ra còn có loại biến áp siêu cao tần dùng lõi bằng không khí.
- Biến áp âm tần là loại biến áp dùng trong các tầng khuếch đại có tần số âm thanh, đó là các loại biến áp đảo pha, biến áp loa, biến áp Micro, biến áp mảnh,...
- Trong dân dụng còn sử dụng các loại biến áp nguồn cho các thiết bị điện tử, các máy tăng giảm điện (Survolteur), và ổn áp dân dụng, chấn lưu,...
2. Cấu tạo và nguyên lí làm việc
a. Lõi thép máy biến áp

b. Dây quấn máy biến áp (Đồng/Nhôm)
- Có tiết diện tròn/hình chữ nhật, mặt ngoài bọc lớp cách điện
- Dây quấn gồm nhiều vòng dây, lồng vào trụ lõi thép. Giữa các vòng dây, dây quấn có cách điện với nhau và các dây quấn cách điện lõi thép,...
- Máy biến áp thường có hai hoặc nhiều dây quấn, gồm các dây quấn có thể đặt trên cùng một trụ hoặc trên nhiều trụ khác nhau,...
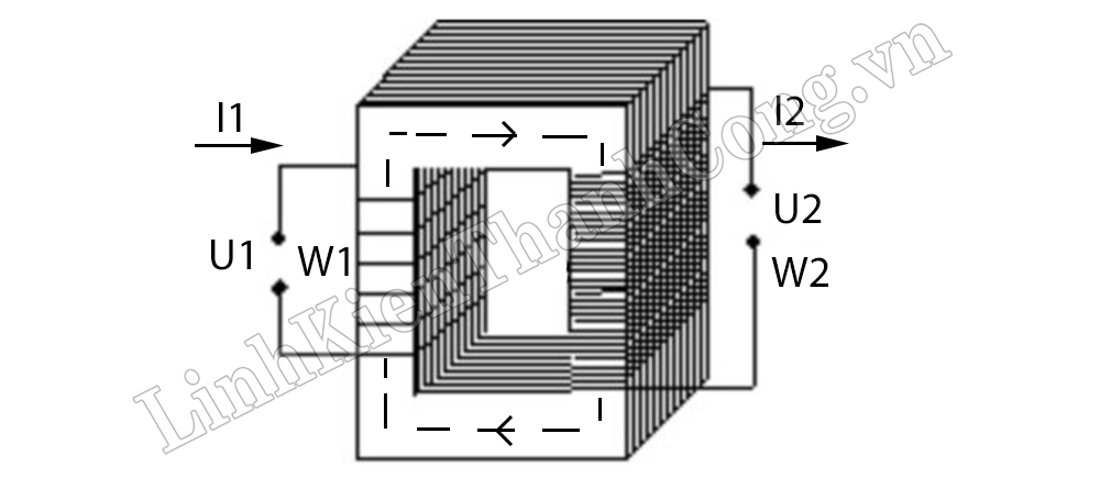
3. Nguyên lí làm việc máy biến áp cảm ứng
a. Cuộn dây sơ cấp (Nguồn điện vào)

+ I1: Dòng sơ cấp
+ U1: Điện áp sơ cấp
+ W1: Số vòng sơ cấp
b. Cuộn dây thứ cấp (Cấp nguồn ra)
+ I2: Dòng thứ cấp
+ U2: Điện áp thứ cấp
+ W2: Số vòng dây thức cấp
- Thông số định mức:
+ S(đm): Công suất biểu kiến định mức, đơn vị: VA, KVA,...
+ P(đm): CÔng suất tác dụng định mức, đơn vị là: W, KW,...
+ U(đm): Điện áp định mức, đơn vị: V, KV,...
+ I(đm): Dòng điện định mức, đơn vị: A, KA
4. Các bước làm khuôn máy biến áp
B1: Xác định kích thước lõi thép

+ a: bề rộng của trụ
+ b: bề dày lõi thép
+ c: chiều rộng cửa sổ
+ d: chiều dày bìa cách điện
+ h: chiều cao cửa sổ
B2: Chọn vật liệu làm khuôn
- Khuôn máy biến áp làm bằng bìa cách điện, nhựa, phíp,...
B3: Làm thân khuôn

+ Xác định kích thước các chiều:
Chiều dài = a + b + a + d + d + b + a - d + a/4
Chiều rộng = a/4 + h - d + a/4
+ Vẽ thân khuôn theo các kích thước như hình vẽ
+ Cắt thân khuôn theo đường nét đứt
B4: Làm mặt bích

- Xác định chiều dài và rộng
- Vẽ mặt bích theo các kích thước như hình vẽ
- Cắt bỏ hình chữ nhật phía bên trong mặt bích
- Đục lỗ các đầu dây ra
B5: Ghép mặt bích vào thân khuôn và chỉnh lại cho vuông vắn
- Chú ý: Khi gấp khuôn phải dùng mũi kéo nhọn giao nhua giữa các mặt A1 và B1; B1 và A2; A2 và B2; B2 và A3; Khoảng 1/3 bề dày bìa
B6: Làm lõi khuôn và ốp khuôn
- Làm lõi khuôn với mục đích trong quá trình khuôn bị ép lại, khi ghép Ferrit bị chặt, gây ra rách khuôn hoặc làm đứt dây quấn
- Làm ốp khuôn để trong quá trình quấn dây không chạy ra ngoài khuôn
5. Các bước tính toán
B1: Xác định kích thước trên lõi thép (ép phải chặt, đo đạc cẩn thận giảm sai số)
+ b: bề dày của xếp thép
+ a: bề rộng của trụ
B2: Tính tiết diện hình học
S(hh) = a.b (cm²)
B3: Tính tiết diện thuần sắt
S(ts) = (0,9 / 0,93).S(hh) (cm²)
B4: Tính số vòng/1 Volt điện áp
n = k / [B.S(ts)] (Vòng/Volt)
- Trong đó:
+ k: hệ số thuần sắt thép lõi máy biếp áp
k = 45 ~ 50
Đối với lõi thép tốt thì k = 45
Đối với lõi thép xấu thì k = 50
+ B: Độ từ thẩm lõi thép, B = 0,8 ~ 1,2 Tesla; Thường lấy B = 1T
B5: Tính dòng điện sơ cấp và thức cấp
P1 = (1,1 ~ 1,2).P2
TH1: Nếu P2 < 100W => P1 = 1,2P2 (W)
TH2: Nếu P2 > 100W => P1 = 1,1.P2 (W)
+ I1 = P1/U1 (A)
+ I2 = P2/U2 (A)
TH3: Nếu cuộn thứ cấp có nhiều cấp điện áp tính I2 theo cấp điện áp nhỏ nhất
B6: Tính đường kính dây
Cách 1: Tính theo mật độ dòng điện
S1 = I1/J (mm²)
S2 = I2/J (mm²)
+ J = 2,5 ~ 3,5 (Ampe/mm²) và thường lấy J = 3 (A/mm²)
+ Sau khi xác định được S1; S2, tra bảng tiêu chuản ta xác định được d1, d2
+ Hoặc đường kính, tính theo công thức sau:
d = 2 . [√(S/π)] (mm)
Cách 2: Tính đường kính dây theo công thức sau:
d = (0,72/0,9).√I (mm) (I: Cường độ dòng điện)
+ Nếu P2 < 100W, đường kích dây tính bởi công thức:
d = 0,8.√I (mm) (I: Cường độ dòng điện)
B7: Tính số vòng dây của cuộn sơ cấp
W1 = n.U1 (vòng)
B8: Tính số vòng dây cuộn thứ cấp
W2 = n.(U2 + 5%.U2) (vòng) trong đó: 5%.U2 = Tổn hao của lõi thép
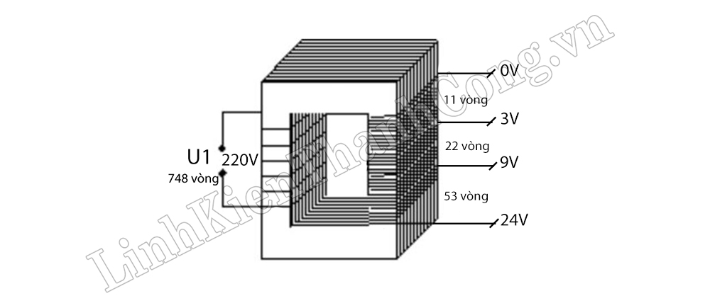
- Để giúp các anh em thợ cũng như các bạn nắm rõ hơn về các công thức trên chúng ta cùng đi vào trực tiếp 1 ví dụ thực tế nhé:
Yêu cầu: Tính toán dây quấn MBA (1 pha) 2 dấy quấn cảm ứng có các pha sau
+ U1 = 220V P2 = 60W
+ U21 = 3V a = 3,2cm
+ U22 = 9V b = 4,8cm
+ U23 = 24V B = 1T
Hướng dẫn:

+ Shh = a.b = 15,36 (cm²)
+ Sts = 0,9.Shh = 13,824 (cm²)
+ n = k / [B.S(ts)] = 47 / (1x13,824) = 3,4 (vòng/Volt)
+ P2 = 60W => P1 = 1,2P2 = 72W
+ I1 = P1/U1 = 72/220 = 0,327 (A)
+ I2 = P2/U2 = 60/3 = 20 (A)
+ d1 = 0,8.√I1 = 0,46 (mm)
+ d2 = 0,8.√I2 = 3,58 (mm)
=> Sơ cấp: W1 = n.U1 = 3,4.220 = 778 (vòng)
=> Thức cấp: W21 = n.(U21 + 5%U21) = 11 (vòng)
=> W22 = n.(U22 + 5%U22) = 33 (vòng)
=> W23 = n.(U23 + 5%U23) = 86 (vòng)
(Tài liệu xây dựng và biên dịch LKTC - Nocopyright)